Glass - Windshield for 2001 Toyota Avalon
Vehicle
2001 Toyota Avalon
Change Vehicle
- Accessory Drive Belt System Components
- Brackets, Flanges & Hangers
- Cooling Fan, Clutch & Motor
- Gaskets & Sealing Systems
- Hardware, Fasteners & Fittings
- Hoses & Pipes
- Radiators, Coolers & Related Components
- Sending Units
- Sensors
- Switches, Solenoids & Actuators
- Thermostat & Housing
- Water Pump & Related Components
- Brackets, Flanges & Hangers
- Bumper
- Bumper & Components - Front
- Bumper & Components - Rear
- Center Pillar & Rocker
- Cluster & Switches
- Console
- Control Cables
- Cowl
- Dashboard
- Door
- Door & Components
- Doors
- Ducts
- Exterior Trim - Front Door
- Exterior Trim - Pillars
- Exterior Trim - Rear Door
- Exterior Trim - Roof
- Exterior Trim - Trunk
- Fender & Components
- Fenders
- Floor
- Floor & Rails
- Frame
- Front Console
- Front Door
- Front Seat Components
- Gaskets & Sealing Systems
- Glass - Front Door
- Glass - Rear Door
- Glass - Windshield
- Glass & Hardware
- Glass & Hardware - Back
- Glass, Windows & Related Components
- Glove Box
- Grille
- Grille & Components
- Hardware, Fasteners & Fittings
- Hinge Pillar
- Hood
- Hood & Components
- Horns
- Information Labels
- Inner Structure
- Instrument Panel
- Instrument Panel Components
- Interior Trim - Front Door
- Interior Trim - Pillars
- Interior Trim - Quarter Panels
- Interior Trim - Rear Body
- Interior Trim - Rear Door
- Interior Trim - Roof
- Interior Trim - Trunk
- Labels
- Lid & Components
- Lock & Hardware
- Master Cylinder - Components On Dash Panel
- Mirrors
- Outside Mirrors
- Overhead Console
- Quarter Panel
- Quarter Panel & Components
- Rear Body
- Rear Door
- Rear Floor & Rails
- Rear Seat Components
- Reveal Moldings
- Rocker Panel
- Roof
- Roof & Components
- Seat Belt
- Seats
- Side Body
- Side Pillar
- Sound System
- Steering Wheel
- Structural Components & Rails
- Sunroof
- Switches, Solenoids & Actuators
- Tracks & Components
- Truck Box
- Trunk
- Trunk Lid & Compartment
- Wiper & Washer Components
- ABS Components
- Anti-Lock Brakes
- Brackets, Flanges & Hangers
- Brake Components
- Brake Hydraulics
- Bushings
- Control Modules
- Disc Pads & Brake Shoes
- Drums & Rotors
- Front Brakes
- Gaskets & Sealing Systems
- Hardware, Fasteners & Fittings
- Hoses & Pipes
- Hydraulic System
- Parking Brake
- Rear Brakes
- Relays
- Sensors
- Service Kits
- Traction Control
- Valves
- ABS Components
- Air Bag Components
- Air Bag System
- Alarm System
- Alternator
- Alternator/Generator & Related Components
- Antenna & Radio
- Anti-Theft Components
- Anti-Theft System
- Backup Lamps
- Battery
- Battery & Related Components
- Brackets, Flanges & Hangers
- Bulbs - Chassis
- Combination Lamps
- Control Modules
- Cruise Control System
- Daytime Running Lamp Components
- Electrical Components
- Electrical Connectors
- Electrical Sockets
- Flasher Units, Fuses, & Circuit Breakers
- Fog Lamps
- Front Door
- Front Seat Belts
- Gaskets & Sealing Systems
- Glass, Windows & Related Components
- Hardware, Fasteners & Fittings
- Headlamp Components
- Heated Seats
- High Mounted Stop Lamp
- Horn
- Ignition Lock
- Ignition System
- Information Labels
- Instruments & Gauges
- Keyless Entry Components
- License Lamps
- Lighting - Exterior
- Lighting - Instrumentation
- Lighting - Interior
- Mirrors
- Mobile Multi-Media
- Power Outlets
- Power Seats
- Powertrain Control
- Rear Door
- Rear Seat Belts
- Relays
- Senders
- Sensors
- Starter
- Starter & Related Components
- Steering Column
- Sunroof
- Switches
- Switches, Solenoids & Actuators
- Voltage Regulator
- Window Defroster
- Wipers
- Wire, Cable & Related Components
- Air Intake
- Bearings
- Brackets, Flanges & Hangers
- Bushings
- Control Modules
- Cylinder Block Components
- Engine
- Engine & Trans Mounting
- Engine Parts
- Filters
- Gaskets & Sealing Systems
- Hardware, Fasteners & Fittings
- Mounts
- Oil Pan
- Oil Pump
- Switches, Solenoids & Actuators
- Transaxle Parts
- Valve Train Components
- Wire, Cable & Related Components
- A/C Accumulator/Receiver Drier
- A/C Clutch & Compressor
- A/C Condenser & Evaporator
- A/C Flow Restrictors
- Automatic Temperature Controls
- Blower Motor & Fan
- Brackets, Flanges & Hangers
- Condenser, Compressor & Lines
- Control Modules
- Controls
- Evaporator & Heater Components
- Filters
- Hardware, Fasteners & Fittings
- Heater
- Hoses & Pipes
- HVAC Case
- Information Labels
- Motors, Core, Case & Related Components
- Relays
- Sensors
- Switches & Sensors
- Switches, Solenoids & Actuators
- Temperature Controls & Related Components
- Bearings
- Brackets, Flanges & Hangers
- Bushings
- Gaskets & Sealing Systems
- Hardware, Fasteners & Fittings
- Housing & Components
- P/S Pump & Hoses
- Power Steering Hoses, Pumps, & Related Components
- Pump & Hoses
- Sensors
- Shaft & Internal Components
- Shroud, Switches & Levers
- Steering Column
- Steering Gear & Linkage
- Steering Wheel
- Steering Wheel & Trim
- Steering, Gear & Related Components
- Accessory Drive Belt System Components
- Brackets, Flanges & Hangers
- Cooling Fan, Clutch & Motor
- Gaskets & Sealing Systems
- Hardware, Fasteners & Fittings
- Hoses & Pipes
- Radiators, Coolers & Related Components
- Sending Units
- Sensors
- Switches, Solenoids & Actuators
- Thermostat & Housing
- Water Pump & Related Components
- Brackets, Flanges & Hangers
- Bumper
- Bumper & Components - Front
- Bumper & Components - Rear
- Center Pillar & Rocker
- Cluster & Switches
- Console
- Control Cables
- Cowl
- Dashboard
- Door
- Door & Components
- Doors
- Ducts
- Exterior Trim - Front Door
- Exterior Trim - Pillars
- Exterior Trim - Rear Door
- Exterior Trim - Roof
- Exterior Trim - Trunk
- Fender & Components
- Fenders
- Floor
- Floor & Rails
- Frame
- Front Console
- Front Door
- Front Seat Components
- Gaskets & Sealing Systems
- Glass - Front Door
- Glass - Rear Door
- Glass - Windshield
- Glass & Hardware
- Glass & Hardware - Back
- Glass, Windows & Related Components
- Glove Box
- Grille
- Grille & Components
- Hardware, Fasteners & Fittings
- Hinge Pillar
- Hood
- Hood & Components
- Horns
- Information Labels
- Inner Structure
- Instrument Panel
- Instrument Panel Components
- Interior Trim - Front Door
- Interior Trim - Pillars
- Interior Trim - Quarter Panels
- Interior Trim - Rear Body
- Interior Trim - Rear Door
- Interior Trim - Roof
- Interior Trim - Trunk
- Labels
- Lid & Components
- Lock & Hardware
- Master Cylinder - Components On Dash Panel
- Mirrors
- Outside Mirrors
- Overhead Console
- Quarter Panel
- Quarter Panel & Components
- Rear Body
- Rear Door
- Rear Floor & Rails
- Rear Seat Components
- Reveal Moldings
- Rocker Panel
- Roof
- Roof & Components
- Seat Belt
- Seats
- Side Body
- Side Pillar
- Sound System
- Steering Wheel
- Structural Components & Rails
- Sunroof
- Switches, Solenoids & Actuators
- Tracks & Components
- Truck Box
- Trunk
- Trunk Lid & Compartment
- Wiper & Washer Components
- ABS Components
- Anti-Lock Brakes
- Brackets, Flanges & Hangers
- Brake Components
- Brake Hydraulics
- Bushings
- Control Modules
- Disc Pads & Brake Shoes
- Drums & Rotors
- Front Brakes
- Gaskets & Sealing Systems
- Hardware, Fasteners & Fittings
- Hoses & Pipes
- Hydraulic System
- Parking Brake
- Rear Brakes
- Relays
- Sensors
- Service Kits
- Traction Control
- Valves
- ABS Components
- Air Bag Components
- Air Bag System
- Alarm System
- Alternator
- Alternator/Generator & Related Components
- Antenna & Radio
- Anti-Theft Components
- Anti-Theft System
- Backup Lamps
- Battery
- Battery & Related Components
- Brackets, Flanges & Hangers
- Bulbs - Chassis
- Combination Lamps
- Control Modules
- Cruise Control System
- Daytime Running Lamp Components
- Electrical Components
- Electrical Connectors
- Electrical Sockets
- Flasher Units, Fuses, & Circuit Breakers
- Fog Lamps
- Front Door
- Front Seat Belts
- Gaskets & Sealing Systems
- Glass, Windows & Related Components
- Hardware, Fasteners & Fittings
- Headlamp Components
- Heated Seats
- High Mounted Stop Lamp
- Horn
- Ignition Lock
- Ignition System
- Information Labels
- Instruments & Gauges
- Keyless Entry Components
- License Lamps
- Lighting - Exterior
- Lighting - Instrumentation
- Lighting - Interior
- Mirrors
- Mobile Multi-Media
- Power Outlets
- Power Seats
- Powertrain Control
- Rear Door
- Rear Seat Belts
- Relays
- Senders
- Sensors
- Starter
- Starter & Related Components
- Steering Column
- Sunroof
- Switches
- Switches, Solenoids & Actuators
- Voltage Regulator
- Window Defroster
- Wipers
- Wire, Cable & Related Components
- Air Intake
- Bearings
- Brackets, Flanges & Hangers
- Bushings
- Control Modules
- Cylinder Block Components
- Engine
- Engine & Trans Mounting
- Engine Parts
- Filters
- Gaskets & Sealing Systems
- Hardware, Fasteners & Fittings
- Mounts
- Oil Pan
- Oil Pump
- Switches, Solenoids & Actuators
- Transaxle Parts
- Valve Train Components
- Wire, Cable & Related Components
- A/C Accumulator/Receiver Drier
- A/C Clutch & Compressor
- A/C Condenser & Evaporator
- A/C Flow Restrictors
- Automatic Temperature Controls
- Blower Motor & Fan
- Brackets, Flanges & Hangers
- Condenser, Compressor & Lines
- Control Modules
- Controls
- Evaporator & Heater Components
- Filters
- Hardware, Fasteners & Fittings
- Heater
- Hoses & Pipes
- HVAC Case
- Information Labels
- Motors, Core, Case & Related Components
- Relays
- Sensors
- Switches & Sensors
- Switches, Solenoids & Actuators
- Temperature Controls & Related Components
- Bearings
- Brackets, Flanges & Hangers
- Bushings
- Gaskets & Sealing Systems
- Hardware, Fasteners & Fittings
- Housing & Components
- P/S Pump & Hoses
- Power Steering Hoses, Pumps, & Related Components
- Pump & Hoses
- Sensors
- Shaft & Internal Components
- Shroud, Switches & Levers
- Steering Column
- Steering Gear & Linkage
- Steering Wheel
- Steering Wheel & Trim
- Steering, Gear & Related Components
Browse Categories
Select category
- Accessory Drive Belt System Components
- Brackets, Flanges & Hangers
- Cooling Fan, Clutch & Motor
- Gaskets & Sealing Systems
- Hardware, Fasteners & Fittings
- Hoses & Pipes
- Radiators, Coolers & Related Components
- Sending Units
- Sensors
- Switches, Solenoids & Actuators
- Thermostat & Housing
- Water Pump & Related Components
- Brackets, Flanges & Hangers
- Bumper
- Bumper & Components - Front
- Bumper & Components - Rear
- Center Pillar & Rocker
- Cluster & Switches
- Console
- Control Cables
- Cowl
- Dashboard
- Door
- Door & Components
- Doors
- Ducts
- Exterior Trim - Front Door
- Exterior Trim - Pillars
- Exterior Trim - Rear Door
- Exterior Trim - Roof
- Exterior Trim - Trunk
- Fender & Components
- Fenders
- Floor
- Floor & Rails
- Frame
- Front Console
- Front Door
- Front Seat Components
- Gaskets & Sealing Systems
- Glass - Front Door
- Glass - Rear Door
- Glass - Windshield
- Glass & Hardware
- Glass & Hardware - Back
- Glass, Windows & Related Components
- Glove Box
- Grille
- Grille & Components
- Hardware, Fasteners & Fittings
- Hinge Pillar
- Hood
- Hood & Components
- Horns
- Information Labels
- Inner Structure
- Instrument Panel
- Instrument Panel Components
- Interior Trim - Front Door
- Interior Trim - Pillars
- Interior Trim - Quarter Panels
- Interior Trim - Rear Body
- Interior Trim - Rear Door
- Interior Trim - Roof
- Interior Trim - Trunk
- Labels
- Lid & Components
- Lock & Hardware
- Master Cylinder - Components On Dash Panel
- Mirrors
- Outside Mirrors
- Overhead Console
- Quarter Panel
- Quarter Panel & Components
- Rear Body
- Rear Door
- Rear Floor & Rails
- Rear Seat Components
- Reveal Moldings
- Rocker Panel
- Roof
- Roof & Components
- Seat Belt
- Seats
- Side Body
- Side Pillar
- Sound System
- Steering Wheel
- Structural Components & Rails
- Sunroof
- Switches, Solenoids & Actuators
- Tracks & Components
- Truck Box
- Trunk
- Trunk Lid & Compartment
- Wiper & Washer Components
- ABS Components
- Anti-Lock Brakes
- Brackets, Flanges & Hangers
- Brake Components
- Brake Hydraulics
- Bushings
- Control Modules
- Disc Pads & Brake Shoes
- Drums & Rotors
- Front Brakes
- Gaskets & Sealing Systems
- Hardware, Fasteners & Fittings
- Hoses & Pipes
- Hydraulic System
- Parking Brake
- Rear Brakes
- Relays
- Sensors
- Service Kits
- Traction Control
- Valves
- ABS Components
- Air Bag Components
- Air Bag System
- Alarm System
- Alternator
- Alternator/Generator & Related Components
- Antenna & Radio
- Anti-Theft Components
- Anti-Theft System
- Backup Lamps
- Battery
- Battery & Related Components
- Brackets, Flanges & Hangers
- Bulbs - Chassis
- Combination Lamps
- Control Modules
- Cruise Control System
- Daytime Running Lamp Components
- Electrical Components
- Electrical Connectors
- Electrical Sockets
- Flasher Units, Fuses, & Circuit Breakers
- Fog Lamps
- Front Door
- Front Seat Belts
- Gaskets & Sealing Systems
- Glass, Windows & Related Components
- Hardware, Fasteners & Fittings
- Headlamp Components
- Heated Seats
- High Mounted Stop Lamp
- Horn
- Ignition Lock
- Ignition System
- Information Labels
- Instruments & Gauges
- Keyless Entry Components
- License Lamps
- Lighting - Exterior
- Lighting - Instrumentation
- Lighting - Interior
- Mirrors
- Mobile Multi-Media
- Power Outlets
- Power Seats
- Powertrain Control
- Rear Door
- Rear Seat Belts
- Relays
- Senders
- Sensors
- Starter
- Starter & Related Components
- Steering Column
- Sunroof
- Switches
- Switches, Solenoids & Actuators
- Voltage Regulator
- Window Defroster
- Wipers
- Wire, Cable & Related Components
- Air Intake
- Bearings
- Brackets, Flanges & Hangers
- Bushings
- Control Modules
- Cylinder Block Components
- Engine
- Engine & Trans Mounting
- Engine Parts
- Filters
- Gaskets & Sealing Systems
- Hardware, Fasteners & Fittings
- Mounts
- Oil Pan
- Oil Pump
- Switches, Solenoids & Actuators
- Transaxle Parts
- Valve Train Components
- Wire, Cable & Related Components
- A/C Accumulator/Receiver Drier
- A/C Clutch & Compressor
- A/C Condenser & Evaporator
- A/C Flow Restrictors
- Automatic Temperature Controls
- Blower Motor & Fan
- Brackets, Flanges & Hangers
- Condenser, Compressor & Lines
- Control Modules
- Controls
- Evaporator & Heater Components
- Filters
- Hardware, Fasteners & Fittings
- Heater
- Hoses & Pipes
- HVAC Case
- Information Labels
- Motors, Core, Case & Related Components
- Relays
- Sensors
- Switches & Sensors
- Switches, Solenoids & Actuators
- Temperature Controls & Related Components
- Bearings
- Brackets, Flanges & Hangers
- Bushings
- Gaskets & Sealing Systems
- Hardware, Fasteners & Fittings
- Housing & Components
- P/S Pump & Hoses
- Power Steering Hoses, Pumps, & Related Components
- Pump & Hoses
- Sensors
- Shaft & Internal Components
- Shroud, Switches & Levers
- Steering Column
- Steering Gear & Linkage
- Steering Wheel
- Steering Wheel & Trim
- Steering, Gear & Related Components
- Accessory Drive Belt System Components
- Brackets, Flanges & Hangers
- Cooling Fan, Clutch & Motor
- Gaskets & Sealing Systems
- Hardware, Fasteners & Fittings
- Hoses & Pipes
- Radiators, Coolers & Related Components
- Sending Units
- Sensors
- Switches, Solenoids & Actuators
- Thermostat & Housing
- Water Pump & Related Components
- Brackets, Flanges & Hangers
- Bumper
- Bumper & Components - Front
- Bumper & Components - Rear
- Center Pillar & Rocker
- Cluster & Switches
- Console
- Control Cables
- Cowl
- Dashboard
- Door
- Door & Components
- Doors
- Ducts
- Exterior Trim - Front Door
- Exterior Trim - Pillars
- Exterior Trim - Rear Door
- Exterior Trim - Roof
- Exterior Trim - Trunk
- Fender & Components
- Fenders
- Floor
- Floor & Rails
- Frame
- Front Console
- Front Door
- Front Seat Components
- Gaskets & Sealing Systems
- Glass - Front Door
- Glass - Rear Door
- Glass - Windshield
- Glass & Hardware
- Glass & Hardware - Back
- Glass, Windows & Related Components
- Glove Box
- Grille
- Grille & Components
- Hardware, Fasteners & Fittings
- Hinge Pillar
- Hood
- Hood & Components
- Horns
- Information Labels
- Inner Structure
- Instrument Panel
- Instrument Panel Components
- Interior Trim - Front Door
- Interior Trim - Pillars
- Interior Trim - Quarter Panels
- Interior Trim - Rear Body
- Interior Trim - Rear Door
- Interior Trim - Roof
- Interior Trim - Trunk
- Labels
- Lid & Components
- Lock & Hardware
- Master Cylinder - Components On Dash Panel
- Mirrors
- Outside Mirrors
- Overhead Console
- Quarter Panel
- Quarter Panel & Components
- Rear Body
- Rear Door
- Rear Floor & Rails
- Rear Seat Components
- Reveal Moldings
- Rocker Panel
- Roof
- Roof & Components
- Seat Belt
- Seats
- Side Body
- Side Pillar
- Sound System
- Steering Wheel
- Structural Components & Rails
- Sunroof
- Switches, Solenoids & Actuators
- Tracks & Components
- Truck Box
- Trunk
- Trunk Lid & Compartment
- Wiper & Washer Components
- ABS Components
- Anti-Lock Brakes
- Brackets, Flanges & Hangers
- Brake Components
- Brake Hydraulics
- Bushings
- Control Modules
- Disc Pads & Brake Shoes
- Drums & Rotors
- Front Brakes
- Gaskets & Sealing Systems
- Hardware, Fasteners & Fittings
- Hoses & Pipes
- Hydraulic System
- Parking Brake
- Rear Brakes
- Relays
- Sensors
- Service Kits
- Traction Control
- Valves
- ABS Components
- Air Bag Components
- Air Bag System
- Alarm System
- Alternator
- Alternator/Generator & Related Components
- Antenna & Radio
- Anti-Theft Components
- Anti-Theft System
- Backup Lamps
- Battery
- Battery & Related Components
- Brackets, Flanges & Hangers
- Bulbs - Chassis
- Combination Lamps
- Control Modules
- Cruise Control System
- Daytime Running Lamp Components
- Electrical Components
- Electrical Connectors
- Electrical Sockets
- Flasher Units, Fuses, & Circuit Breakers
- Fog Lamps
- Front Door
- Front Seat Belts
- Gaskets & Sealing Systems
- Glass, Windows & Related Components
- Hardware, Fasteners & Fittings
- Headlamp Components
- Heated Seats
- High Mounted Stop Lamp
- Horn
- Ignition Lock
- Ignition System
- Information Labels
- Instruments & Gauges
- Keyless Entry Components
- License Lamps
- Lighting - Exterior
- Lighting - Instrumentation
- Lighting - Interior
- Mirrors
- Mobile Multi-Media
- Power Outlets
- Power Seats
- Powertrain Control
- Rear Door
- Rear Seat Belts
- Relays
- Senders
- Sensors
- Starter
- Starter & Related Components
- Steering Column
- Sunroof
- Switches
- Switches, Solenoids & Actuators
- Voltage Regulator
- Window Defroster
- Wipers
- Wire, Cable & Related Components
- Air Intake
- Bearings
- Brackets, Flanges & Hangers
- Bushings
- Control Modules
- Cylinder Block Components
- Engine
- Engine & Trans Mounting
- Engine Parts
- Filters
- Gaskets & Sealing Systems
- Hardware, Fasteners & Fittings
- Mounts
- Oil Pan
- Oil Pump
- Switches, Solenoids & Actuators
- Transaxle Parts
- Valve Train Components
- Wire, Cable & Related Components
- A/C Accumulator/Receiver Drier
- A/C Clutch & Compressor
- A/C Condenser & Evaporator
- A/C Flow Restrictors
- Automatic Temperature Controls
- Blower Motor & Fan
- Brackets, Flanges & Hangers
- Condenser, Compressor & Lines
- Control Modules
- Controls
- Evaporator & Heater Components
- Filters
- Hardware, Fasteners & Fittings
- Heater
- Hoses & Pipes
- HVAC Case
- Information Labels
- Motors, Core, Case & Related Components
- Relays
- Sensors
- Switches & Sensors
- Switches, Solenoids & Actuators
- Temperature Controls & Related Components
- Bearings
- Brackets, Flanges & Hangers
- Bushings
- Gaskets & Sealing Systems
- Hardware, Fasteners & Fittings
- Housing & Components
- P/S Pump & Hoses
- Power Steering Hoses, Pumps, & Related Components
- Pump & Hoses
- Sensors
- Shaft & Internal Components
- Shroud, Switches & Levers
- Steering Column
- Steering Gear & Linkage
- Steering Wheel
- Steering Wheel & Trim
- Steering, Gear & Related Components
No.
Part # / Description / Price
Price
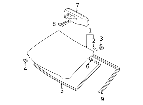
2
MSRP $3.81
$3.02
3
Windshield Stopper
Toyota
Toyota Description: #2, us built. Coupe, inner. Type 2. Type 1. Upper. Small.
MSRP $3.81
$3.02
MSRP $3.81
$3.02
5
Dam; Dam Kit
Toyota
Toyota Description: Front PILLAR, OUTER; Window GLASS ADHESIVE; WindShield GLASS; WindShield GLASS ADHESIVE.
#2. Upper. 3430mm. Lower & sides. Lower, us built. Without double cab, long.
MSRP $21.60
$17.15
MSRP $21.60
$17.15
6
Windshield Seal
Toyota
Toyota Description: Window GLASS ADHESIVE, No. 2; WindShield GLASS; WindShield GLASS ADHESIVE; WindShield Washer (FROM JOINT To JOINT), No. 1.
Fits Avalon, Camry, Corolla, Matrix, Sequoia, Sienna, Solara, Tacoma , Tercel, Tundra
#1. 592mm. Lower & sides. Upper, us built. Without double cab, short.
MSRP $7.80
$6.19
MSRP $7.80
$6.19
7
8
Cover
Toyota
Toyota Description: Auto dimming mirror. Us built. To 12/10. With DOUBLE CAB. with auto anti glare.
MSRP $8.80
$6.98
MSRP $8.80
$6.98